安徽合肥庐江县城池工业炉厂
13866126226
hfchengchi@163.com

Tags for: 热导率

锚固件的材料和布置

锚固件的材料和布置

在不同溫度和气氛下,锚固件材料的选用见表。其中“特殊合金”是指镍铬合金、铁铬铝合金等特殊耐热合金;而“陶瓷锚固件则包括一般陶瓷锚固件、氧化铝锚固件和氮化硅(Si3N4)等。国... (more…)

耐火纤维炉衬的结构形式

耐火纤维炉衬的结构形式

耐火纤维炉衬的结构形式通常分为耐火纤维面衬和全纤维炉衬两类。前者是将耐火纤维制品(毡或毯),用高温粘结剂贴在耐火砖炉衬的受热表面上; 后者是全部用耐火纤维制品,或用耐... (more…)

耐火纤维的性能

耐火纤维的性能

耐火纤维的主要特性是耐高温、热导率小、化学稳定性好,而且还具有良好的热震稳定性和抗振性。普通硅酸铝耐火纤维的使用温度为1200℃,氧化铝耐火纤维可达1600℃,有的其至更高,... (more…)

耐热钢抗热疲劳性

耐热钢抗热疲劳性

有些耐热钢构件在工作中要受到周期性的升温和冷却的影响,如料盘要随工件一起在空气、油或水中冷却,更容易发生疲劳损坏。所以,对受到周期性升温和冷却影响的耐热钢构件,要... (more…)

常用隔热材料的主要性能

常用隔热材料的主要性能

隔热材料的使用性能:从使用角度出发,隔热材料最重要的性能是热导率、抗压强度和最高使用温度。对于一些髙温隔热材料,如轻质耐火砖的最高使用温度是指将整块砖加热到某温度,... (more…)

膨胀珍珠岩及其制品

膨胀珍珠岩及其制品

膨胀珍珠岩及其制品:珍珠岩是一种酸性岩浆喷出的玻璃质熔岩,由于具有珍珠裂隙结构而得名,其主要成分为Si02 (质量分数为70%左右)和Al2O3(质量分数为11%?14%)。珍珠岩在加热过程中... (more…)

岩棉、矿渣棉及其制品

岩棉、矿渣棉及其制品

岩棉、矿渣棉及其制品岩棉和矿渣棉均为人造无机纤维材料,即以岩石、矿渣为原料,经高温熔融后喷吹而得的纤维棉。 岩棉和矿渣棉具有质轻、热导率低、化学性能稳定等特性和隔热... (more…)

隔热材料的要求

隔热材料的要求

隔热材料的要求隔热材料是指体积密度小((more…)

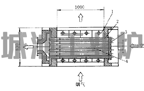
陶瓷预热器

陶瓷预热器

日本研制的渗硅处理SC材料制成的预热器采用辐射板可促进传热在传热管群各排之间,设置了带凸肩的辐射板。该凸肩的作用是使高温排气流形成紊流,同时,由于防止了管段间的烟气沉淀而提高了对流热导率。高温排气除直接加热传热管外... (more…)

淬火油的选择方法

淬火油的选择方法

淬火油几乎都是有较高闪点的矿物油,比热容热导率比水底,粘度高,低温阶段的冷却速度远比水低通常担心的是油的冷却速度较低,发生较大的变形。... (more…)