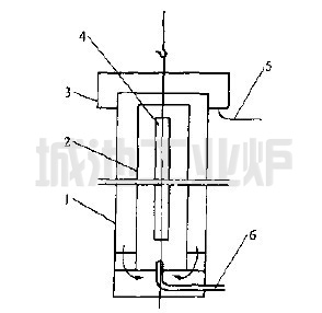
配备溢流槽、备用槽及循环槽的淬火槽的淬火介质入口一般在槽子的下部,通过上部溢流口排出口排出,溢流口设在淬火槽上口边缘的外侧与槽壁焊在一起,淬火槽壁上面开有溢流孔或... (more…)
2020-02-16 城池 淬火槽 循环 溢流 液位 淬火 淬火介质 溢流槽 循环槽 溢流孔